Wahoo files patent for new smart trainer with… a secret drawer?
Brand says 'a need exists' for storage in cycling training devices
The latest race content, interviews, features, reviews and expert buying guides, direct to your inbox!
You are now subscribed
Your newsletter sign-up was successful
Fitness technology brand Wahoo has filed a patent for a new smart trainer with a built-in drawer.
The patent, titled ‘cycling training device with integrated storage’, was created earlier this year and published last week by the US Patent and Trademark Office.
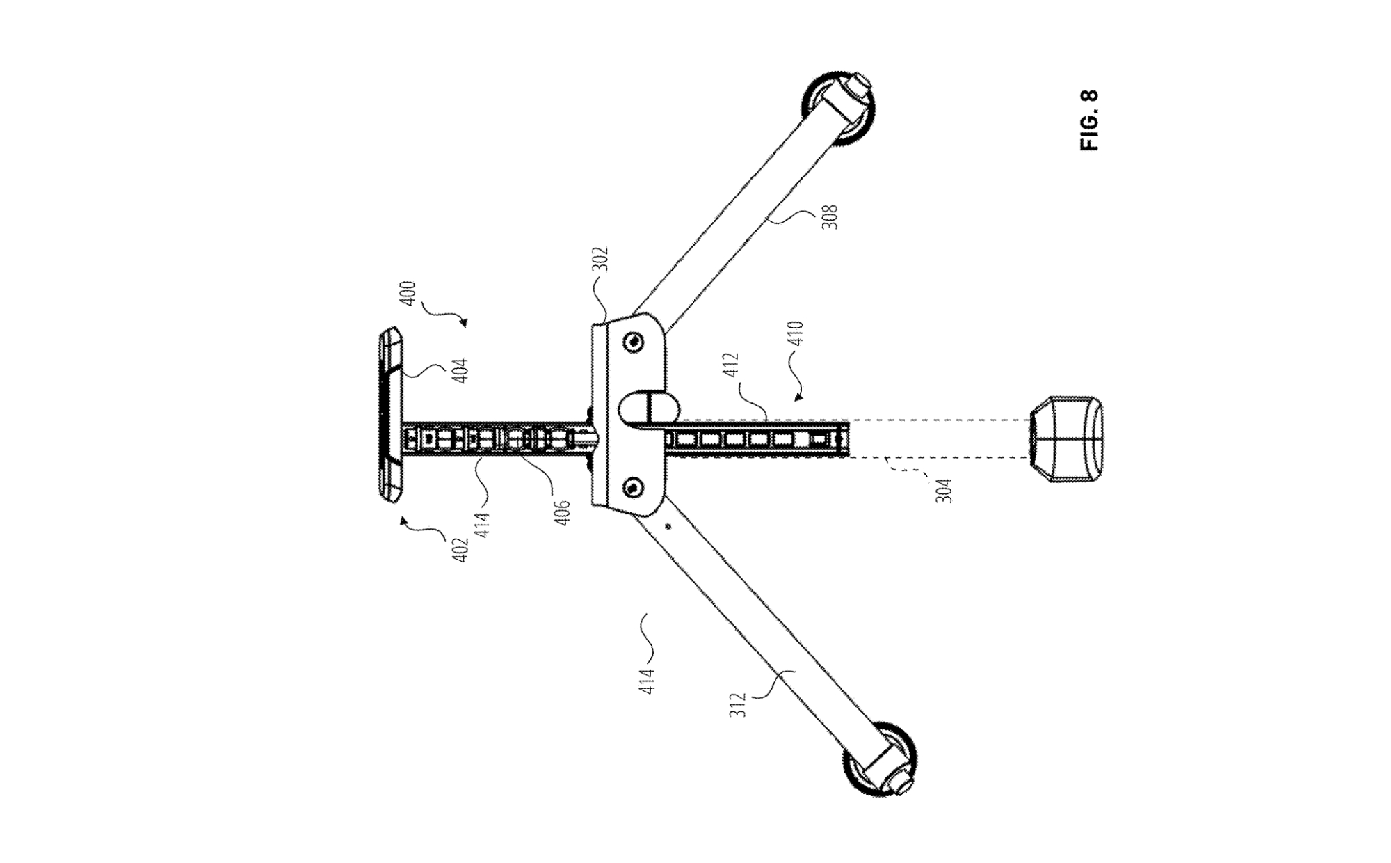
It shows a smart trainer that appears identical to the brand’s flagship KICKR product, but with the addition of a hidden tubular drawer that extends from the middle support leg.
Explaining the design, Wahoo writes in the patent that the idea stemmed from a “need” for “convenient and space-efficient storage”, so users do not lose the accessories that are needed for the trainer.
“For example, indoor trainers may include adapters or similar components to facilitate coupling between the trainer and different styles of axle connections (e.g., quick-release connections, thru-axle connections, etc.), rear cassettes, drop out spacing, and the like. A user may also need to perform occasional maintenance on the cycling training device using a specific set of tools,” the patent reads.
“Adapters and tools are often small components and can be readily misplaced, leading to time spent locating the accessories and potential costs to replace lost accessories.”
Wahoo goes on to discuss different implementations of the drawer; it could be “molded” into shape to house specific accessories, the brand writes, or it could come in a more general shape to store other items, such as the user's personal belongings.
The latest race content, interviews, features, reviews and expert buying guides, direct to your inbox!
“The shape, size and integrated features of the carriage may depend on the size and shape of the member in which the drawer is supported,” the patent says.
It adds that the “drawer concept” could be integrated into other indoor trainers and exercise devices.
As with all patents, there is no guarantee that this design has or will be produced. The patent filing protects the intellectual property behind the idea, in case the company wants to make it in the future.
Earlier this year, Wahoo also filed a patent for a side-to-side tilting exercise bike.
Contacted by Cycling Weekly, a Wahoo spokesperson said: “We do not comment on our future roadmap except to say that Wahoo are continually innovating to help achieve our mission of building a better athlete in all of us.”

Tom joined Cycling Weekly as a news and features writer in the summer of 2022, having previously contributed as a freelancer. He is fluent in French and Spanish, and holds a master's degree in International Journalism. Since 2020, he has been the host of The TT Podcast, offering race analysis and rider interviews.
An enthusiastic cyclist himself, Tom likes it most when the road goes uphill, and actively seeks out double-figure gradients on his rides. His best result is 28th in a hill-climb competition, albeit out of 40 entrants.
You must confirm your public display name before commenting
Please logout and then login again, you will then be prompted to enter your display name.